Samsung ได้ยืนยันแล้วว่าจะเปิดตัวสมาร์ตโฟนจอพับ 3 ทบ เครื่องแรกของแบรนด์ภายในปีนี้ ซึ่งคาดว่าจะใช้ชื่อว่า Galaxy Z TriFold แม้ว่ายังไม่มีการประกาศวันเปิดตัวอย่างเป็นทางการ แต่ก็มีเอกสารสิทธิบัตรจาก KIPRIS หลุดออกมาเผยความลับที่น่าสนใจมาก นั่นคือ Z TriFold จะมาพร้อมกับ แบตเตอรี่ถึง 3 ก้อน เลยทีเดียว! นี่เป็นก้าวสำคัญที่อาจช่วยแก้ปัญหาเรื่องแบตเตอรี่ในมือถือจอพับได้
.jpg)
จัดเรียงสุดฉลาด เพื่อแบตที่มากกว่าเดิม
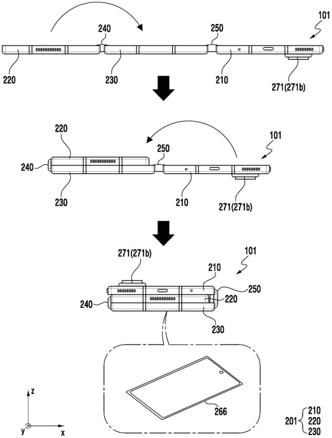
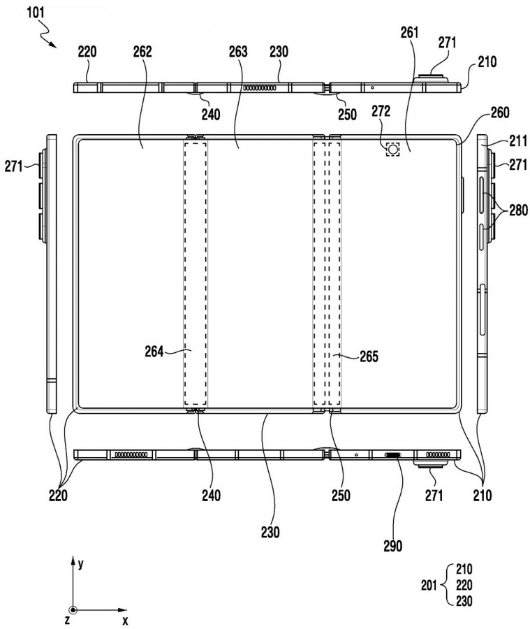
เนื่องจากสมาร์ตโฟนรุ่นนี้มีกลไกการพับถึง 3 ส่วน หรือ 3 บานพับ ทำให้ Samsung เลือกที่จะแบ่งแบตเตอรี่ออกเป็น 3 ก้อน โดยซ่อนอยู่ในแต่ละส่วนของตัวเครื่องอย่างชาญฉลาด จากภาพสเก็ตช์ในสิทธิบัตรเผยให้เห็นว่า แบตเตอรี่ก้อนที่เล็กที่สุด (T1) จะอยู่ในส่วนที่มีชุดกล้องหลัง 3 ตัวติดตั้งอยู่ ขณะที่ แบตเตอรี่ก้อนที่ใหญ่เป็นอันดับสอง (T3) จะอยู่ในส่วนที่เป็นหน้าจอด้านนอก (Cover Display) และ แบตเตอรี่ก้อนที่ใหญ่ที่สุด (T2) จะถูกซ่อนอยู่ในส่วนตรงกลางที่ถูกพับประกบเอาไว้
.jpg)
แม้ว่าเอกสารสิทธิบัตรจะไม่ได้ระบุความจุของแบตเตอรี่แต่ละก้อนหรือความจุรวมทั้งหมด แต่ข่าวลืออื่น ๆ ระบุว่าความจุรวมน่าจะ มากกว่า 5,000 mAh ซึ่งถือเป็นข่าวดีอย่างยิ่งสำหรับแฟน ๆ ที่ผิดหวังกับ Galaxy Z Fold 7 รุ่นก่อน ที่มาพร้อมแบตเตอรี่เพียง 4,400 mAh และรองรับการชาร์จแบบมีสายแค่ 25W ซึ่งถือว่าน้อยมากเมื่อเทียบกับคู่แข่งในตลาดเดียวกัน ทำให้ทุกคนหวังว่า Z TriFold จะอัปเกรดเรื่องการชาร์จให้ดีขึ้นด้วย

เปิดตัวพร้อมแว่นตา XR สุดล้ำ
สำหรับกำหนดการเปิดตัวของ Galaxy Z TriFold นั้น ยังคงเป็นข่าวลือที่คลุมเครือ โดยมีกระแสว่าอาจเปิดตัวในช่วงปลายเดือนกันยายนที่ผ่านมา หรืออย่างช้าสุดก็ในช่วงปลายเดือนตุลาคมนี้ โดยมีการคาดการณ์ว่าอาจเริ่มวางจำหน่ายในตลาดเกาหลีใต้และจีนก่อน ก่อนจะขยายไปสู่ตลาดสหรัฐอเมริกาและทั่วโลกต่อไป ที่น่าตื่นเต้นไม่แพ้กันคือ การเปิดตัวครั้งนี้อาจมาพร้อมกับผลิตภัณฑ์ใหม่ที่น่าจับตาอย่าง แว่นตา Extended Reality (XR) ตัวแรกของ Samsung ที่มีชื่อรหัสว่า Project Moohan ซึ่งมีข่าวลือว่ากำหนดลงทะเบียนล่วงหน้าในเกาหลีใต้จะเริ่มในวันที่ 15 ตุลาคม และมีกำหนดเปิดตัวอย่างเป็นทางการในวันที่ 22 ตุลาคม

สรุปข่าว: Samsung Galaxy Z TriFold มือถือจอพับ 3 ทบรุ่นแรกของ Samsung จ่อเปิดตัวปลายเดือนตุลาคมนี้ ข้อมูลจากสิทธิบัตรยืนยันว่า TriFold จะมาพร้อมดีไซน์สุดล้ำที่ติดตั้ง แบตเตอรี่ถึง 3 ก้อน ในแต่ละส่วนของเครื่อง เพื่อให้ได้ความจุรวมที่คาดว่าจะมีขนาด มากกว่า 5,000 mAh ซึ่งเป็นการยกระดับประสบการณ์ใช้งานเมื่อเทียบกับรุ่นก่อนอย่าง Fold 7 นอกจากนี้ การเปิดตัว Z TriFold อาจเกิดขึ้นพร้อม ๆ กับการเผยโฉม Project Moohan แว่นตา XR รุ่นแรกที่ใช้ระบบปฏิบัติการ Android XR อีกด้วย นับเป็นช่วงเวลาที่ Samsung เตรียมปล่อยนวัตกรรมครั้งใหญ่สู่ตลาดโลกพร้อมกันถึง 2 อย่าง
source: gsmarena